注:由于2022招生信息還未公布,暫為同學們整理2021年院校招生信息,可供擇校參考。若有院校公布2022年招生信息,我們后期將會實時更新,敬請關注!
中國政法大學
01招生人數
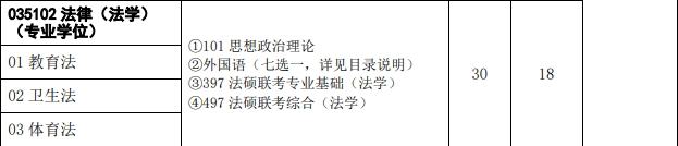
2021年法學院法碩(法學)(全日制)招生人數是30人,推免18人
民商經濟法學院法碩(法學)(全日制)招生人數是41人,推免21人
法律碩士學院法碩(非法學)(全日制)招生人數是230人,推免115人
法碩(非法學)(非全日制)招生人數是40人
光明新聞傳播學院法碩(非法學)(全日制)招生人數是13人,推免7人
證據科學研究院法碩(非法學)(全日制)招生人數45人,推免20人








圖片來源:中國政法大學研究生院
02學費學制
法碩(法學)全日制:學制為2年,學費1.5萬元/年
法碩(非法學)全日制:學制為3年,學費1.5萬元/年
法碩(非法學)非全日制:學制為3年,學費2.8萬元/年



圖片來源:中國政法大學研究生院
03復試分數線
法碩(法學)法學院:60/90/365
民商經濟法學院:60/90/375(金融法方向), 60/90/360(財稅法、社會發展方向)
法碩(非法學)法律碩士學院(全日制、非全日制)、光明新聞傳播學院:60/90/370
證據科學研究院:60/90/370(司法文明方向),60/90/355(法庭科學方向)

圖片來源:中國政法大學研究生院
04錄取名單
以下錄取數據不包括士兵、少干、援藏計劃考生!
中國政法大學的2021年法律碩士錄取數據如下:
法碩(法學)法學院擬錄取17人,
民商經濟法學院擬錄取22人
法碩(非法學)法律碩士學院全日制擬錄取177人,非全日制擬錄取40人
光明新聞傳播學院擬錄取7人,
證據科學研究院擬錄取36人

圖片來源:中國政法大學研究生院
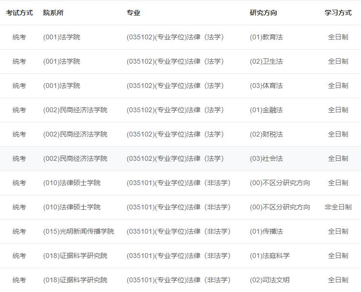
05研究方向
以下為中國政法大學法律碩士研究方向:

圖片來源:研招網
以上就是小編帶來的“法律碩士擇校:中國政法大學招生、錄取、學制學費等情況分析!”,想要獲取更多資訊,請持續關注本網站!